宁波宁东开元大酒店有限公司入围宁波市鄞州区2026-2027年党政机关会议定点场所框架协议采购项目的结果公告
2026-01-26
浙江/宁波 中标结果
宁波宁东开元大酒店有限公司入围宁波市鄞州区2026-2027年党政机关会议定点场所框架协议采购项目的结果公告
浙江/宁波-2026-01-26 00:00:00
浙江/宁波-2026-01-26 00:00:00
|
宁波宁东开元大酒店有限公司入围宁波市鄞州区*********年党政机关会议定点场所框架协议采购项目的结果公告
发布时间:**********
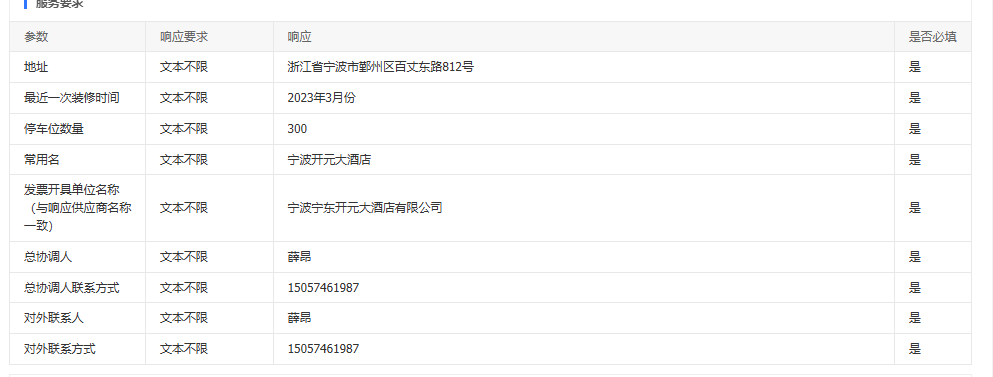
一、采购项目信息 项目名称:宁波市鄞州区*********年党政机关会议定点场所框架协议采购项目 项目编号:**************** 二、征集人信息 征集人名称:宁波市鄞州区政务服务中心 征集人地址:浙江省宁波市鄞州区宁波市鄞州区泰康西路**号(鄞州区政务服务中心*楼) 征集人和联系方式:董杭雷************** 三、入围供应商 供应商名称:宁波宁东开元大酒店有限公司 供应商地址:浙江省宁波市鄞州区宁波市鄞州区百丈东路***号 供应商联系人和联系方式:薛昂************ 四、入围产品 |



