山西/太原-2025-12-24 00:00:00
招标项目所在地区:柳林县
一、采购条件
山西重力工程咨询有限公司受山西省煤炭地质一四八勘查院有限公司委托,现对山西省煤炭地质一四八勘查院有限公司柳林县水文地质勘探项目材料采购进行询比采购,项目资金来源为自筹,本项目已具备采购条件,欢迎符合本项目资格条件的供应商参与。
二、采购项目概况
*.项目名称:山西省煤炭地质一四八勘查院有限公司柳林县水文地质勘探项目材料采购
*.采购编号:****招【****】****号
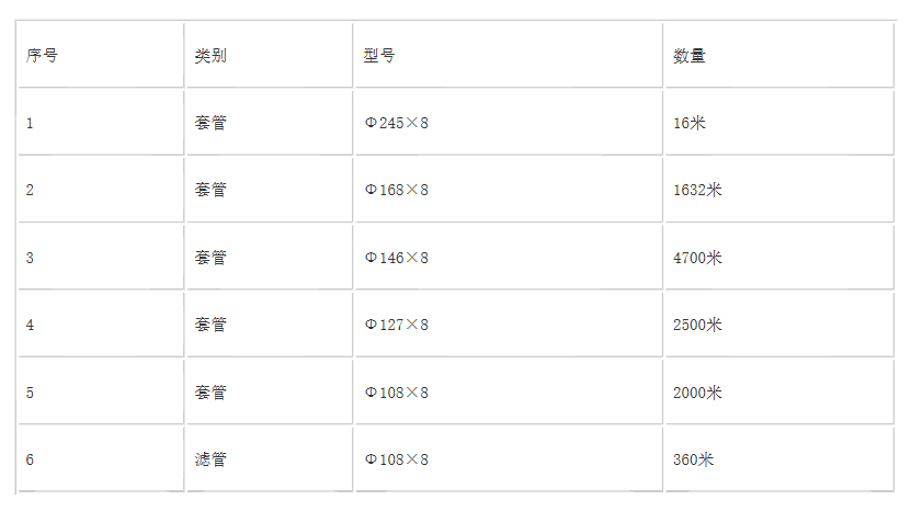
*.项目概况与招标范围
*.交货期:*个月
*.本项目不接受联合体。
三、供应商资格要求
*.*投标人必须是中华人民共和国境内注册的有合法经营资格的国内独立法人,具有从事本项目的经营范围和能力;
*.*具有独立承担民事责任的能力;
*.*具有良好的商业信誉和健全的财务会计制度;
*.*具有履行合同所必需的设备和专业技术能力;
*.*有依法缴纳税收和社会保障资金的良好记录;
*.*参加本次采购活动前三年内,在经营活动中没有重大违法记录;
*.*具有相应的专业人员及服务能力;
*.*本项目不接受联合体投标;
*.*单位负责人为同一人或者存在直接控股、管理关系的不同供应商,不得参加同一合同项下的采购活动;
*.**法律、行政法规规定的其他条件。
四、采购文件的获取
时间:****年**月**日至****年**月**日,每天上午*:**至**:**,下午**:**至**:**(北京时间,法定节假日除外);
地点:山西重力工程咨询有限公司(太原市万柏林区长兴北街*号华润大厦**楼**层)。
方式:凡有意参加报价的供应商,请在文件发售时间内通过“山西重力工程咨询有限公司电子交易平台”(网址:*****://******.*****.**/#/)网上报名,同时需上传以下报名资料。
①单位委托书或介绍信原件及承办人、法定代表人(负责人)身份证复印件;
②按下列格式如实填写相关信息:
供应商领取文件基本信息表
项目名称:项目编号
(以上资料须均加盖供应商公章的复印件*套)
售价:人民币伍佰元整¥***
五、响应文件的递交
递交截止时间:****年**月**日**时**分
递交方法:现场递交
递交地址:太原市万柏林区长兴北街*号华润大厦**楼**层
六、响应保证金的递交
响应保证金递交截止时间:****年**月**日**时**分
响应保证金金额:*****.**元
响应保证金递交方式:现钞、银行汇票、银行电汇、支票、信用证、银行保函、保证保险、工程担保公司保函等方式均可。
响应保证金的接收:
账户名称:山西重力工程咨询有限公司
开户银行:中国民生银行太原亲贤北街支行
银行账号:****************
保函办理、验证方式:
*.供应商可登录山西省招标投标公共服务平台*“交易保障”*“电子保函”页面(*****://***.*****.***.**/*/***/********),选择“银行保函”或“保证保险”根据提示办理山西省内金融机构出具的保函。
*.供应商办理成功后下载保函并附于响应文件中,即视为递交响应保证金。
*.评标委员会专家可登录山西省招标投标公共服务平台*“交易保障”*“电子保函”相应保函办理页面,输入保函验证编码,即可在线快速查验保函真伪。
七、响应文件的开启
开启时间:****年**月**日**时**分
开启方式:现场开启
八、其他公告内容
供应商购买谈判文件流程:注册山西重力工程咨询有限公司电子交易平台账号→平台审核通过→根据山西重力工程咨询有限公司电子交易平台要求支付采购文件购买费用(登陆后选择项目大厅→点击立即参与项目→点操作台→投标/响应→缴纳)→在线提交购标申请→购标申请审核通过→发送谈判文件。
供应商按照提示在平台购买谈判文件后,并联系项目负责人。
供应商提交购标申请时,须按谈判公告要求上传谈判文件购买费用电汇或转账凭证。(需备注:项目名称+项目编号)
投标详细操作流程请查阅《山西重力工程咨询有限公司电子交易平台》(*****://******.*****.**/#/)首页右下角【下载中心】→【投标人操作手册】。
九、发布公告的媒介
本次采购公告同时在《山西省招标投标协会(山西招标采购服务平台)》、《山西重力工程咨询有限公司电子交易平台》上发布。
十、联系方式
采购人:山西省煤炭地质一四八勘查院有限公司
联系人:王先生
联系方式:************
采购代理机构:山西重力工程咨询有限公司
地址:太原市万柏林区长兴北街*号华润大厦**楼**层
联系人:张弛、黄东、孙远东、王雷
联系方式:************、***********



