众采
首页
产品套餐
登录
|
注册
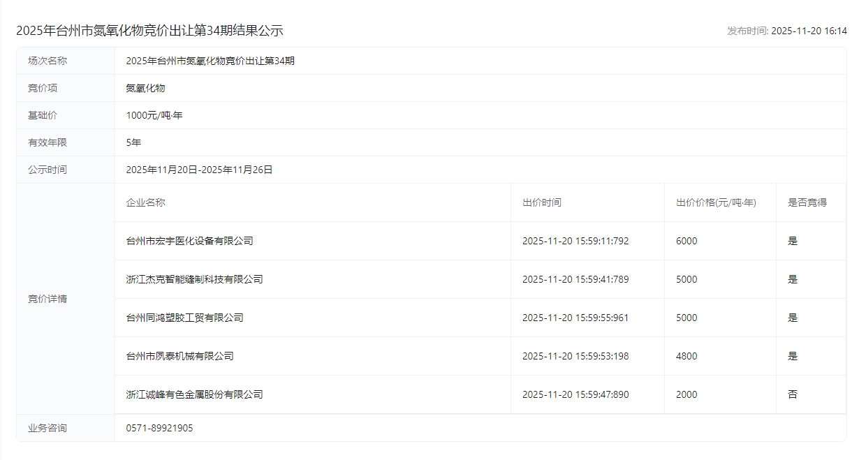
2025年台州市氮氧化物竞价出让第34期结果公示
2025-11-20
浙江/台州
产权|出让|拍卖|挂牌
2025年台州市氮氧化物竞价出让第34期结果公示
浙江/台州-2025-11-20 00:00:00
****年台州市氮氧化物竞价出让第**期结果公示
发布时间:********** **:**
信息来源:
浙江
原文链接地址
修复版 * 纯***图片点击放大
微信客服
公众号
小程序
法律声明
|
服务协议
|
隐私条款
|
站点地图
|
XML地图
|
新闻栏目
© 众采招标网 南京预见商擎信息科技有限公司 版权所有
|
苏ICP备19019254号-5
京公网安备 11010804033151号
用户反馈
服务协议
隐私协议
法律声明